ドリルチャックアーバ(ナット付き)
チャックも同時にご購入の場合、取付費用サービス実施中!
ナット付のドリルチャックアーバーは特にキーレスドリルチャックに最適です!
↑キーレスドリルチャックはチャック先端からJT側に掛けて貫通していないので、
アーバーを取りはずす際、通常のドリルチャックのようにアーバー先端を叩いて外すことが出来ないから
「キーレスドリルチャックに最適」なのです。 便利なチャックドリフトも販売しております。
・最高の精度
総研磨仕上げにより、優れた精度を保障いたします。良好な振れ精度です。
テーパの当たりはきわめて良好で、安心して取付が出来ます。
良質な特殊鋼SCM435(クロモリ鋼)と、適切な熱処理(硬さHRC40以上)で耐久性は抜群です。
・工具の着脱
ナットによりドリルチャック等の工具の着脱が簡単で、チャック及びアーバーを痛めません。
・初期精度の維持
長期間のご使用にも初期精度が落ちません。
種類
・モールステーパシャンク
・ストレートシャンク
・モールステーパ引きネジタイプ
の3種類がございます。
熱処理を施さないアーバーや、ナット無しの標準形状アーバーは、特注にて製作しております。納期・金額は特注水準になります。
☆特別注文アーバー/特殊な形状のもの、標準品にないテーパサイズ、ジョイント、スピンドル、フランジなども製作いたします。
※チャック同時ご購入の場合、アーバー取り付け作業を施した上で出荷することも可能です。取付費用はサービスします。
参考
アーバは一部海外製品のJT2使用のものも装着できるように、ショートタイプではなく、JT2となっています。
従って、地球印アーバは、JT2・2Sを問わず、どちらのタイプのチャックにも取付が可能です。
よく頂くご質問 のページもご覧下さい。
モールステーパータイプ(ナット付)
ナット無しに変更したサイズもあります。ナット無しアーバーの商品ページもご参照下さい。
商品表記方法:JT△×MT◇ 注文例:JT6×MT3
△:チャック側のジャコブステーパー番号0~6(JT2はJT2Sのチャックにもご使用頂けます。JT6とJT2½は、同一サイズです。)
◇:機械側のモールステーパー番号1~5
適用チャック | チャック側 ジャコブステーパー番号 | 機械側モールステーパー番号(L2寸法) 緑枠内の表記が型番となります | ||||
MT1 (66) | MT2 (80) | MT3 (100) | MT4 (124) | MT5 (160) | ||
3,4,KL3 | JT0 | |||||
D4,D5 | JTD | JTD×MT1 | JTD×MT2 | JTD×MT3 | JTD×MT4 | |
5,6.5,J8,KL6.5 | JT1 | JT1×MT1 | JT1×MT3 | JT1×MT4 | ||
10,KL10 | JT2 | JT2×MT3 | ||||
13,KL13,DH38 | JT6 JT2½と同じ | JT6×MT1 | JT6×MT2 | JT6×MT3 | JT6×MT4 | JT6×MT5 |
14,16 | JT3 | JT3×MT2 | JT3×MT3 | JT3×MT4 | ||
19,20,DH50 | JT4 | JT4×MT2 | JT4×MT3 | JT4×MT4 | JT4×MT5 | |
25 | JT5 | JT5×MT3 | ||||
ストレートシャンクタイプ(ナット付)
ナット無しに変更したサイズもあります。ナット無しアーバーの商品ページもご参照下さい。
φ25以上のストレートシャンク部には、サイドロック用のフラット面(平取り)付きとなります。フラット面なしをご希望の場合は、特注となります。
商品表記方法:JT△×φ● 注文例:JT2×φ32
△:チャック側のジャコブステーパー番号0~6(JT2はJT2Sのチャックにもご使用頂けます。JT6とJT2½は、同一サイズです。)
●:機械側ストレートシャンク径
適用チャック | チャック側 ジャコブステーパー番号 | 機械側ストレートシャンク径(L3寸法) 緑枠内の表記が型番となります | |||||||
| フラット面(平取り)無し | フラット面(平取り)有り | ||||||||
φ10 (50) | φ12 (50) | φ16 (60) | φ20 (60) | φ25 (65) | φ32 (70) | φ40 (75) | φ50 (100) | ||
3,4,KL3 | JT0 | JT0×φ12 | JT0×φ20 | ||||||
D4,D5 | JTD | JTD×φ10 | JTD×φ12 | JTD×φ16 | JTD× φ20 | JTD×φ25 | JTD×φ32 | ||
5,6.5,J8,KL6.5 | JT1 | JT1×φ10 | JT1×φ12 | JT1×φ16 | JT1×φ25 | JT1×φ32 | JT1×φ40 | ||
10,KL10 | JT2 | JT2×φ16 | JT2× φ20 | JT2×φ25 | JT2×φ32 | JT2×φ40 | |||
13,KL13,DH38 | JT6 JT2½と同じ | JT6×φ12 | JT6×φ16 | JT6× φ20 | JT6×φ25 | JT6×φ32 | JT6×φ40 | JT6×φ50 | |
14,16 | JT3 | JT3×φ25 | JT3×φ32 | ||||||
19,20,DH50 | JT4 | JT4×φ32 | |||||||
25 | JT5 | JT5×φ32 | |||||||
ナット二面幅 参考記載
(予告無く変更する場合がございます)
二面幅※(mm) | 使用するスパナ | |
JT0 | 17 | スパナ・モンキー等 |
JTD | 21 | スパナ・モンキー等 |
JT1 | 21 | スパナ・モンキー等 |
JT2 | 27 | スパナ・モンキー等 |
JT6(2½) | 32 | スパナ・モンキー等 |
JT3 | 36 | スパナ・モンキー等 |
JT4 | 45 | フックスパナ |
JT5 | 56 | フックスパナ |
※JT4・JT5はベアリングナット形状のため、ナットの直径です。
ドリルチャックアーバ(ナット付き)
チャックも同時にご購入の場合、取付費用サービス実施中!
ナット付のドリルチャックアーバーは特にキーレスドリルチャックに最適です!
↑キーレスドリルチャックはチャック先端からJT側に掛けて貫通していないので、
アーバーを取りはずす際、通常のドリルチャックのようにアーバー先端を叩いて外すことが出来ないから
「キーレスドリルチャックに最適」なのです。 便利なチャックドリフトも販売しております。
・最高の精度
総研磨仕上げにより、優れた精度を保障いたします。良好な振れ精度です。
テーパの当たりはきわめて良好で、安心して取付が出来ます。
良質な特殊鋼SCM435(クロモリ鋼)と、適切な熱処理(硬さHRC40以上)で耐久性は抜群です。
・工具の着脱
ナットによりドリルチャック等の工具の着脱が簡単で、チャック及びアーバーを痛めません。
・初期精度の維持
長期間のご使用にも初期精度が落ちません。
種類
・モールステーパシャンク
・ストレートシャンク
・モールステーパ引きネジタイプ
の3種類がございます。
熱処理を施さないアーバーや、ナット無しの標準形状アーバーは、特注にて製作しております。納期・金額は特注水準になります。
☆特別注文アーバー/特殊な形状のもの、標準品にないテーパサイズ、ジョイント、スピンドル、フランジなども製作いたします。
※チャック同時ご購入の場合、アーバー取り付け作業を施した上で出荷することも可能です。取付費用はサービスします。
参考
アーバは一部海外製品のJT2使用のものも装着できるように、ショートタイプではなく、JT2となっています。
従って、地球印アーバは、JT2・2Sを問わず、どちらのタイプのチャックにも取付が可能です。
よく頂くご質問 のページもご覧下さい。
モールステーパータイプ(ナット付)
ナット無しに変更したサイズもあります。ナット無しアーバーの商品ページもご参照下さい。
商品表記方法:JT△×MT◇ 注文例:JT6×MT3
△:チャック側のジャコブステーパー番号0~6(JT2はJT2Sのチャックにもご使用頂けます。JT6とJT2½は、同一サイズです。)
◇:機械側のモールステーパー番号1~5
ストレートシャンクタイプ(ナット付)
適用チャック | チャック側 ジャコブステーパー番号 | 機械側モールステーパー番号(L2寸法) 緑枠内の表記が型番となります | ||||
MT1 (66) | MT2 (80) | MT3 (100) | MT4 (124) | MT5 (160) | ||
3,4,KL3 | JT0 | |||||
D4,D5 | JTD | JTD×MT1 | JTD×MT2 | JTD×MT3 | JTD×MT4 | |
5,6.5,J8,KL6.5 | JT1 | JT1×MT1 | JT1×MT3 | JT1×MT4 | ||
10,KL10 | JT2 | JT2×MT3 | ||||
13,KL13,DH38 | JT6 JT2½と同じ | JT6×MT1 | JT6×MT2 | JT6×MT3 | JT6×MT4 | JT6×MT5 |
14,16 | JT3 | JT3×MT2 | JT3×MT3 | JT3×MT4 | ||
19,20,DH50 | JT4 | JT4×MT2 | JT4×MT3 | JT4×MT4 | JT4×MT5 | |
25 | JT5 | JT5×MT3 | ||||
ナット無しに変更したサイズもあります。ナット無しアーバーの商品ページもご参照下さい。
φ25以上のストレートシャンク部には、サイドロック用のフラット面(平取り)付きとなります。フラット面なしをご希望の場合は、特注となります。
商品表記方法:JT△×φ● 注文例:JT2×φ32
△:チャック側のジャコブステーパー番号0~6(JT2はJT2Sのチャックにもご使用頂けます。JT6とJT2½は、同一サイズです。)
●:機械側ストレートシャンク径
適用チャック | チャック側 ジャコブステーパー番号 | 機械側ストレートシャンク径(L3寸法) 緑枠内の表記が型番となります | |||||||
| フラット面(平取り)無し | フラット面(平取り)有り | ||||||||
φ10 (50) | φ12 (50) | φ16 (60) | φ20 (60) | φ25 (65) | φ32 (70) | φ40 (75) | φ50 (100) | ||
3,4,KL3 | JT0 | JT0×φ12 | JT0×φ20 | ||||||
D4,D5 | JTD | JTD×φ10 | JTD×φ12 | JTD×φ16 | JTD× φ20 | JTD×φ25 | JTD×φ32 | ||
5,6.5,J8,KL6.5 | JT1 | JT1×φ10 | JT1×φ12 | JT1×φ16 | JT1×φ25 | JT1×φ32 | JT1×φ40 | ||
10,KL10 | JT2 | JT2×φ16 | JT2× φ20 | JT2×φ25 | JT2×φ32 | JT2×φ40 | |||
13,KL13,DH38 | JT6 JT2½と同じ | JT6×φ12 | JT6×φ16 | JT6× φ20 | JT6×φ25 | JT6×φ32 | JT6×φ40 | JT6×φ50 | |
14,16 | JT3 | JT3×φ25 | JT3×φ32 | ||||||
19,20,DH50 | JT4 | JT4×φ32 | |||||||
25 | JT5 | JT5×φ32 | |||||||
ナット二面幅 参考記載
(予告無く変更する場合がございます)
※JT4・JT5はベアリングナット形状のため、ナットの直径です。
二面幅※(mm) | 使用するスパナ | |
JT0 | 17 | スパナ・モンキー等 |
JTD | 21 | スパナ・モンキー等 |
JT1 | 21 | スパナ・モンキー等 |
JT2 | 27 | スパナ・モンキー等 |
JT6(2½) | 32 | スパナ・モンキー等 |
JT3 | 36 | スパナ・モンキー等 |
JT4 | 45 | フックスパナ |
JT5 | 56 | フックスパナ |
ドリルチャックアーバ(ナット無)
チャックも同時にご購入の場合、取付費用サービス実施中!
ナット無しの一般的なドリルチャックアーバーです。
・最高の精度
総研磨仕上げにより、優れた精度を保障いたします。良好な振れ精度です。
テーパの当たりはきわめて良好で、安心して取付が出来ます。
良質な特殊鋼SCM435(クロモリ鋼)と、適切な熱処理(硬さHRC40以上)で耐久性は抜群です。
・初期精度の維持
長期間のご使用にも初期精度が落ちません。
種類
・モールステーパシャンク
・ストレートシャンク
がございます。
熱処理を施さないアーバーなど、特注品も製作いたします。納期・金額は特注水準になります。
☆特別注文アーバー/特殊な形状のもの、標準品にないテーパサイズ、ジョイント、スピンドル、フランジなども製作いたします。
※チャック同時ご購入の場合、アーバー取り付け作業を施した上で出荷することも可能です。取付費用はサービスします。
参考
アーバは一部海外製品のJT2使用のものも装着できるように、ショートタイプではなく、JT2となっています。
従って、地球印アーバは、JT2・2Sを問わず、どちらのタイプのチャックにも取付が可能です。
よく頂くご質問 のページもご覧下さい。
テーパーの詳細な寸法は、テーパー解説ページをご覧下さい。
モールステーパータイプ(ナット無)
商品表記方法:JT△×MT◇ 注文例:JT6×MT3
△:チャック側のジャコブステーパー番号0~6(JT2はJT2Sのチャックにもご使用頂けます。JT6とJT2½は、同一サイズです。)
◇:機械側のモールステーパー番号1~5
適用チャック | チャック側 ジャコブステーパー番号 | 機械側モールステーパー番号 型番 (L寸法) | ||||
MT1 | MT2 | MT3 | MT4 | MT5 | ||
3,4,KL3 | JT0 | JT0×MT1 (77.5) | JT0×MT2 (92) | |||
D4,D5 | JTD | JTD×MT1 | JTD×MT2 | JTD×MT3 | JTD×MT4 | |
5,6.5,J8,KL6.5 | JT1 | JT1×MT1 (83.5) | JT1×MT2 (98) | JT1×MT3 (117) | JT1×MT4 (142) | |
10,KL10 | JT2 | JT2×MT1 (89.5) | JT2×MT2 (104) | JT2×MT3 (123) | JT2×MT4 (148) | |
13,KL13,DH38 | JT6 JT2½と同じ | JT6×MT1 (93.5) | JT6×MT2 (108) | JT6×MT3 (127) | JT6×MT4 (152) | JT6×MT5 (184) |
14,16 | JT3 | JT3×MT2 (115) | JT3×MT3 (134) | JT3×MT4 (159) | JT3×MT5 (191) | |
19,20,DH50 | JT4 | JT4×MT2 (122) | JT4×MT3 (141) | JT4×MT4 (166) | JT4×MT5 (198) | |
25 | JT5 | JT5×MT2 (133) | JT5×MT3 (152) | JT5×MT4 (177) | JT5×MT5 (209) | |
ストレートシャンクタイプ(ナット無)
サイドロック用のフラット面(平取り)無しとなります。フラット面ありをご希望の場合は、特注となります。
商品表記方法:JT△×φ● 注文例:JT2×φ32
△:チャック側のジャコブステーパー番号0~6(JT2はJT2Sのチャックにもご使用頂けます。JT6とJT2½は、同一サイズです。)
●:機械側ストレートシャンク径
ドリルチャックアーバ(ナット無)
チャックも同時にご購入の場合、取付費用サービス実施中!
ナット無しの一般的なドリルチャックアーバーです。
・最高の精度
総研磨仕上げにより、優れた精度を保障いたします。良好な振れ精度です。
テーパの当たりはきわめて良好で、安心して取付が出来ます。
良質な特殊鋼SCM435(クロモリ鋼)と、適切な熱処理(硬さHRC40以上)で耐久性は抜群です。
・初期精度の維持
長期間のご使用にも初期精度が落ちません。
種類
・モールステーパシャンク
・ストレートシャンク
がございます。
熱処理を施さないアーバーなど、特注品も製作いたします。納期・金額は特注水準になります。
☆特別注文アーバー/特殊な形状のもの、標準品にないテーパサイズ、ジョイント、スピンドル、フランジなども製作いたします。
※チャック同時ご購入の場合、アーバー取り付け作業を施した上で出荷することも可能です。取付費用はサービスします。
参考
アーバは一部海外製品のJT2使用のものも装着できるように、ショートタイプではなく、JT2となっています。
従って、地球印アーバは、JT2・2Sを問わず、どちらのタイプのチャックにも取付が可能です。
よく頂くご質問 のページもご覧下さい。
テーパーの詳細な寸法は、テーパー解説ページをご覧下さい。
モールステーパータイプ(ナット無)
商品表記方法:JT△×MT◇ 注文例:JT6×MT3
△:チャック側のジャコブステーパー番号0~6(JT2はJT2Sのチャックにもご使用頂けます。JT6とJT2½は、同一サイズです。)
◇:機械側のモールステーパー番号1~5

適用チャック | チャック側 ジャコブステーパー番号 | 機械側モールステーパー番号 型番 (L寸法) | ||||
MT1 | MT2 | MT3 | MT4 | MT5 | ||
3,4,KL3 | JT0 | JT0×MT1 (77.5) | JT0×MT2 (92) | |||
D4,D5 | JTD | JTD×MT1 | JTD×MT2 | JTD×MT3 | JTD×MT4 | |
5,6.5,J8,KL6.5 | JT1 | JT1×MT1 (83.5) | JT1×MT2 (98) | JT1×MT3 (117) | JT1×MT4 (142) | |
10,KL10 | JT2 | JT2×MT1 (89.5) | JT2×MT2 (104) | JT2×MT3 (123) | JT2×MT4 (148) | |
13,KL13,DH38 | JT6 JT2½と同じ | JT6×MT1 (93.5) | JT6×MT2 (108) | JT6×MT3 (127) | JT6×MT4 (152) | JT6×MT5 (184) |
14,16 | JT3 | JT3×MT2 (115) | JT3×MT3 (134) | JT3×MT4 (159) | JT3×MT5 (191) | |
19,20,DH50 | JT4 | JT4×MT2 (122) | JT4×MT3 (141) | JT4×MT4 (166) | JT4×MT5 (198) | |
25 | JT5 | JT5×MT2 (133) | JT5×MT3 (152) | JT5×MT4 (177) | JT5×MT5 (209) | |
ストレートシャンクタイプ(ナット無)
サイドロック用のフラット面(平取り)無しとなります。フラット面ありをご希望の場合は、特注となります。
商品表記方法:JT△×φ● 注文例:JT2×φ32
△:チャック側のジャコブステーパー番号0~6(JT2はJT2Sのチャックにもご使用頂けます。JT6とJT2½は、同一サイズです。)
●:機械側ストレートシャンク径

適用チャック | チャック側 ジャコブステーパー番号 | 機械側ストレートシャンク径(d寸法) (L寸法:φ12以上全商品70) 緑枠内の表記が型番となります | ||||||||||
φ6 | φ8 | φ10 | φ12 | φ16 | φ20 | φ22 | φ25 | φ25.4 | φ32 | φ42 | ||
3,4,KL3 | JT0 | JT0×φ6 (L寸法40) | JT0×φ8 (L寸法40) | JT0×φ10 (L寸法50と70が有) | JT0×φ12 | JT0×φ16 | JT0×φ20 | JT0×φ22 | JT0×φ25 | JT0×φ25.4 | JT0×φ32 | |
5,6.5,J8 KL6.5 | JT1 | JT1×φ10 (L寸法50と70が有) | JT1×φ12 | JT1×φ16 | JT1×φ20 | JT1×φ22 | JT1×φ25 | JT1×φ25.4 | JT1×φ32 | JT1×φ42 | ||
10,KL10 | JT2 | JT2×φ10 (L寸法50と70が有) | JT2×φ12 | JT2×φ16 | JT2×φ20 | JT2×φ22 | JT2×φ25 | JT2×φ25.4 | JT2×φ32 | JT2×φ42 | ||
JT2S | JT2S×φ12 | JT2S×φ16 | JT2S×φ20 | JT2S×φ22 | JT2S×φ25 | JT2S×φ32 | ||||||
13,KL13,DH38 | JT6 JT2½と同じ | JT6×φ10 (L寸法50と70が有) | JT6×φ12 | JT6×φ16 | JT6×φ20 | JT6×φ22 | JT6×φ25 | JT6×φ25.4 | JT6×φ32 | JT6×φ42 | ||
14,16 | JT3 | JT3×φ20 | JT3×φ22 | JT3×φ25 | JT3×φ25.4 | JT3×φ32 | JT3×φ42 | |||||
19,20,DH50 | JT4 | JT4×φ32 | JT4×φ42 | |||||||||
25 | JT5 | JT5×φ32 | ||||||||||
モールステーパ引きネジタイプ ドリルチャックアーバー
優れた精度と耐久性を実現
精密な仕上げと厳選素材で、安心の性能をお届けします。
- 最高レベルの精度
すべての製品は総研磨仕上げにより、高い振れ精度を実現しています。
テーパー部の当たりも極めて良好で、確実かつ安定した取り付けが可能です。 - 優れた耐久性
高品質な特殊鋼 SCM435(クロムモリブデン鋼)を採用し、硬度HRC40以上の総焼入れ処理を施すことで、長寿命と高い耐摩耗性を両立しています。 - 初期精度の持続性
長期間の使用においても、初期精度を安定して保持できる設計となっており、メンテナンス性にも優れています。
商品リスト
商品表記方法:JT△×MT◇ 注文例:JT6×MT3
△:チャック側のジャコブステーパー番号0~6(JT2はJT2Sのチャックにもご使用頂けます。JT6とJT2½は、同一サイズです。)
◇:機械側のモールステーパー番号1~5
※引きネジは機械によって異なる為、付属しておりません。特注製作は可能です。
在庫品と受注生産品がございますので、発注時(お見積りご依頼時)は、ネジサイズ・JTサイズMTサイズをお知らせください。
適用チャック | MT1 (受注生産) (57) | MT2 (69) | MT3 (86) | MT4 (109) | |
ネジサイズ | M6 | M10 | M12 | M16 | |
ネジ長さ(mm) | 16 | 24 | 28 | 32 | |
5MG J8 6.5MG 6.5EL | JT1(19) | JT1×MT1 | JT1×MT2 | JT1×MT3 | JT1×MT4 |
10MG 10EL KL10 | JT2(24) | JT2×MT1 | JT2×MT2 | JT2×MT3 | JT2×MT4 |
13MG KL13 KL13SP DH38-J6 13EL | JT6(28) JT2½と同じ | JT6×MT1 | JT6×MT2 | JT6×MT3 | JT6×MT4 |
14 16 | JT3(33) | JT3×MT2 | JT3×MT3 | JT3×MT4 |
引きネジ寸法表
モールステーパーNo. | ネジサイズ | ネジ長さ |
MT1 | M6 | 16 |
MT2 | M10 | 24 |
MT3 | M12 | 28 |
MT4 | M16 | 32 |
表に掲載されていないサイズのものも、特注にて製作致しますのでご相談下さい。
熱処理を施さないアーバーや、ナット無しの標準形状アーバーは、特注にても製作しております。納期・金額は特注水準になります。
☆特別注文アーバー/特殊な形状のもの、標準品にないテーパサイズ、ジョイント、スピンドル、フランジなども製作いたします。
※チャック同時ご購入の場合、アーバー取り付け作業を施した上で出荷することも可能です。取付費用はサービスします。
参考
アーバは一部海外製品のJT2使用のものも装着できるように、ショートタイプではなく、JT2となっています。
従って、地球印アーバは、JT2・2Sを問わず、どちらのタイプのチャックにも取付が可能です。
よく頂くご質問 のページもご覧下さい。
テーパーの詳細な寸法は、テーパー解説ページをご覧下さい。
モールステーパ引きネジタイプ ドリルチャックアーバー
モールステーパーの後端にネジ穴が設けてあります。
チャックも同時にご購入の場合、取付費用サービス実施中!
優れた精度と耐久性を実現
精密な仕上げと厳選素材で、安心の性能をお届けします。
- 最高レベルの精度
すべての製品は総研磨仕上げにより、高い振れ精度を実現しています。
テーパー部の当たりも極めて良好で、確実かつ安定した取り付けが可能です。 - 優れた耐久性
高品質な特殊鋼 SCM435(クロムモリブデン鋼)を採用し、硬度HRC40以上の総焼入れ処理を施すことで、長寿命と高い耐摩耗性を両立しています。 - 初期精度の持続性
長期間の使用においても、初期精度を安定して保持できる設計となっており、メンテナンス性にも優れています。
商品リスト
商品表記方法:JT△×MT◇ 注文例:JT6×MT3
△:チャック側のジャコブステーパー番号0~6(JT2はJT2Sのチャックにもご使用頂けます。JT6とJT2½は、同一サイズです。)
◇:機械側のモールステーパー番号1~5
※引きネジは機械によって異なる為、付属しておりません。特注製作は可能です。
在庫品と受注生産品がございますので、発注時(お見積りご依頼時)は、ネジサイズ・JTサイズMTサイズをお知らせください。
適用チャック | MT1 (受注生産) (57) | MT2 (69) | MT3 (86) | MT4 (109) | |
ネジサイズ | M6 | M10 | M12 | M16 | |
ネジ長さ(mm) | 16 | 24 | 28 | 32 | |
5MG J8 6.5MG 6.5EL | JT1(19) | JT1×MT1 | JT1×MT2 | JT1×MT3 | JT1×MT4 |
10MG 10EL KL10 | JT2(24) | JT2×MT1 | JT2×MT2 | JT2×MT3 | JT2×MT4 |
13MG KL13 KL13SP DH38-J6 13EL | JT6(28) JT2½と同じ | JT6×MT1 | JT6×MT2 | JT6×MT3 | JT6×MT4 |
14 16 | JT3(33) | JT3×MT2 | JT3×MT3 | JT3×MT4 |
引きネジ寸法表
モールステーパーNo. | ネジサイズ | ネジ長さ |
MT1 | M6 | 16 |
MT2 | M10 | 24 |
MT3 | M12 | 28 |
MT4 | M16 | 32 |
表に掲載されていないサイズのものも、特注にて製作致しますのでご相談下さい。
熱処理を施さないアーバーや、ナット無しの標準形状アーバーは、特注にても製作しております。納期・金額は特注水準になります。
☆特別注文アーバー/特殊な形状のもの、標準品にないテーパサイズ、ジョイント、スピンドル、フランジなども製作いたします。
※チャック同時ご購入の場合、アーバー取り付け作業を施した上で出荷することも可能です。取付費用はサービスします。
参考
アーバは一部海外製品のJT2使用のものも装着できるように、ショートタイプではなく、JT2となっています。
従って、地球印アーバは、JT2・2Sを問わず、どちらのタイプのチャックにも取付が可能です。
よく頂くご質問 のページもご覧下さい。
テーパーの詳細な寸法は、テーパー解説ページをご覧下さい。
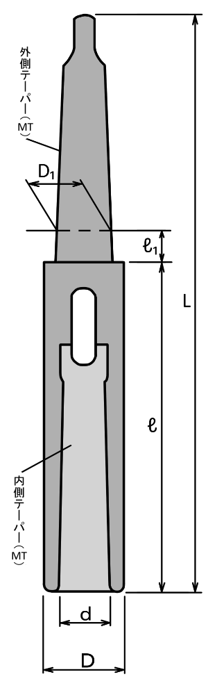
ドリルスリーブ・ドリルソケット
MTシャンクサイズ変更用スリーブ・ソケット
ドリルスリーブやドリルソケットは、MT(モールステーパー)シャンクのサイズ変更や突き出し量の変更に使用します。
すべての商品は【総焼入れ】・【総研磨仕上げ】にて、高い精度と耐久性を実現しています。
ご使用上の注意
- ドリルソケットをご使用の際はご注意ください。
大径の刃物を使用する際に機械側が小さいソケットを使用すると、タングが破損しテーパーを傷める危険がございます。切削量には十分ご注意ください。 - センターの使用について
MTシャンクのセンター製品にはタング(抜き取り用の突起部)がありません。スリーブやソケットを介して使用した場合、取り外しが困難になる可能性があります。
また、精度保持の観点からも、芯押し軸のテーパーに適合した製品を直接ご使用いただくことを推奨いたします。
ドリルスリーブ商品一覧表
| 型式 | 内側テーパ× 外側テーパ | d | D | L | ℓ₁ |
| DSL-1×2 | 1×2 | 12.065 | 18.0 | 92 | 17 |
| DSL-1×3 | 1×3 | 24.1 | 100 | 6 | |
| DSL-1×4 | 1×4 | 31.6 | 124 | 6.5 | |
| DSL-1×5 | 1×5 | 44.7 | 156 | 6.5 | |
| DSL-1×6 | 1×6 | 63.8 | 220 | 10 | |
| DSL-2×3 | 2×3 | 17.780 | 24.1 | 112 | 18 |
| DSL-2×4 | 2×4 | 31.6 | 124 | 6.5 | |
| DSL-2×5 | 2×5 | 44.7 | 156 | 6.5 | |
| DSL-2×6 | 2×6 | 63.8 | 220 | 10 | |
| DSL-3×4 | 3×4 | 23.825 | 31.6 | 136 | 18.5 |
| DSL-3×5 | 3×5 | 44.7 | 156 | 6.5 | |
| DSL-3×6 | 3×6 | 63.8 | 220 | 10 | |
| DSL-4×5 | 4×5 | 31.267 | 44.7 | 168 | 18.5 |
| DSL-4×6 | 4×6 | 63.8 | 220 | 10 | |
| DSL-4×7 | 4×7 | 83.6 | 296 | 10 | |
| DSL-5×6 | 5×6 | 44.399 | 63.8 | 225 | 15 |
| DSL-5×7 | 5×7 | 83.6 | 296 | 10 | |
| DSL-6×7 | 6×7 | 63.348 |
在庫状況につきましては、都度お問い合わせ下さい。
ドリルソケット商品一覧表
| 型式 | 内側テーパ×外側テーパ | D | d | D₁ | L | ℓ | ℓ₁ |
| DSO-1×1 | 1×1 | 20 | 12.065 | 12.065 | 147 | 81.5 | 3.5 |
| DSO-1×2 | 1×2 | 17.780 | 160 | 80.0 | 5.0 | ||
| DSO-1×3 | 1×3 | 23.825 | 180 | 81.0 | |||
| DSO-1×4 | 1×4 | 31.267 | 200 | 76.0 | 6.5 | ||
| DSO-1×5 | 1×5 | 44.399 | 235 | 79.0 | |||
| DSO-2×1 | 2×1 | 24 | 17.78 | 12.065 | 163 | 97.5 | 3.5 |
| DSO-2×2 | 2×2 | 17.780 | 176 | 96.0 | 5.0 | ||
| DSO-2×3 | 2×3 | 23.825 | 195 | ||||
| DSO-2×4 | 2×4 | 31.267 | 220 | 6.5 | |||
| DSO-2×5 | 2×5 | 44.399 | 253 | 97.0 | |||
| DSO-3×2 | 3×2 | 32 | 23.825 | 17.780 | 196 | 116.0 | 5.0 |
| DSO-3×3 | 3×3 | 23.825 | 215 | ||||
| DSO-3×4 | 3×4 | 31.267 | 240 | 6.5 | |||
| DSO-3×5 | 3×5 | 44.399 | 273 | 117.0 | |||
| DSO-3×6 | 3×6 | 63.348 | 335 | 8.0 | |||
| DSO-4×2 | 4×2 | 44 | 31.267 | 17.780 | 221 | 141.0 | 5.0 |
| DSO-4×3 | 4×3 | 23.825 | 240 | ||||
| DSO-4×4 | 4×4 | 31.267 | 265 | 6.5 | |||
| DSO-4×5 | 4×5 | 44.399 | 298 | 142.0 | |||
| DSO-4×6 | 4×6 | 63.348 | 360 | 8.0 | |||
| DSO-5×3 | 5×3 | 54 | 44.399 | 23.825 | 275 | 176.0 | 5.0 |
| DSO-5×4 | 5×4 | 31.267 | 300 | 6.5 | |||
| DSO-5×5 | 5×5 | 44.399 | 333 | 177.0 | |||
| DSO-5×6 | 5×6 | 63.348 | 395 | 8.0 | |||
| DSO-6×5 | 6×5 | 84 | 63.348 | 44.399 | 391 | 235.0 | 6.5 |
| DSO-6×6 | 6×6 | 63.348 | 453 | 8.0 | |||
| DSO-6×7 | 6×7 | 83.058 | 530 | 234.0 | 10.0 |
在庫状況につきましては、都度お問い合わせ下さい。
ドリルスリーブ・ドリルソケット
ドリルスリーブ
ドリルソケット
MTシャンクサイズ変更用スリーブ・ソケット
ドリルスリーブやドリルソケットは、MT(モールステーパー)シャンクのサイズ変更や突き出し量の変更に使用します。
すべての商品は【総焼入れ】・【総研磨仕上げ】にて、高い精度と耐久性を実現しています。
ご使用上の注意
- ドリルソケットをご使用の際はご注意ください。
大径の刃物を使用する際に機械側が小さいソケットを使用すると、タングが破損しテーパーを傷める危険がございます。切削量には十分ご注意ください。 - センターの使用について
MTシャンクのセンター製品にはタング(抜き取り用の突起部)がありません。スリーブやソケットを介して使用した場合、取り外しが困難になる可能性があります。
また、精度保持の観点からも、芯押し軸のテーパーに適合した製品を直接ご使用いただくことを推奨いたします。
ドリルスリーブ商品一覧表
| 型式 | 内側テーパ× 外側テーパ | d | D | L | ℓ₁ |
| DSL-1×2 | 1×2 | 12.065 | 18.0 | 92 | 17 |
| DSL-1×3 | 1×3 | 24.1 | 100 | 6 | |
| DSL-1×4 | 1×4 | 31.6 | 124 | 6.5 | |
| DSL-1×5 | 1×5 | 44.7 | 156 | 6.5 | |
| DSL-1×6 | 1×6 | 63.8 | 220 | 10 | |
| DSL-2×3 | 2×3 | 17.780 | 24.1 | 112 | 18 |
| DSL-2×4 | 2×4 | 31.6 | 124 | 6.5 | |
| DSL-2×5 | 2×5 | 44.7 | 156 | 6.5 | |
| DSL-2×6 | 2×6 | 63.8 | 220 | 10 | |
| DSL-3×4 | 3×4 | 23.825 | 31.6 | 136 | 18.5 |
| DSL-3×5 | 3×5 | 44.7 | 156 | 6.5 | |
| DSL-3×6 | 3×6 | 63.8 | 220 | 10 | |
| DSL-4×5 | 4×5 | 31.267 | 44.7 | 168 | 18.5 |
| DSL-4×6 | 4×6 | 63.8 | 220 | 10 | |
| DSL-4×7 | 4×7 | 83.6 | 296 | 10 | |
| DSL-5×6 | 5×6 | 44.399 | 63.8 | 225 | 15 |
| DSL-5×7 | 5×7 | 83.6 | 296 | 10 | |
| DSL-6×7 | 6×7 | 63.348 |
在庫状況につきましては、都度お問い合わせ下さい。
ドリルソケット商品一覧表
| 型式 | 内側テーパ×外側テーパ | D | d | D₁ | L | ℓ | ℓ₁ |
| DSO-1×1 | 1×1 | 20 | 12.065 | 12.065 | 147 | 81.5 | 3.5 |
| DSO-1×2 | 1×2 | 17.780 | 160 | 80.0 | 5.0 | ||
| DSO-1×3 | 1×3 | 23.825 | 180 | 81.0 | |||
| DSO-1×4 | 1×4 | 31.267 | 200 | 76.0 | 6.5 | ||
| DSO-1×5 | 1×5 | 44.399 | 235 | 79.0 | |||
| DSO-2×1 | 2×1 | 24 | 17.78 | 12.065 | 163 | 97.5 | 3.5 |
| DSO-2×2 | 2×2 | 17.780 | 176 | 96.0 | 5.0 | ||
| DSO-2×3 | 2×3 | 23.825 | 195 | ||||
| DSO-2×4 | 2×4 | 31.267 | 220 | 6.5 | |||
| DSO-2×5 | 2×5 | 44.399 | 253 | 97.0 | |||
| DSO-3×2 | 3×2 | 32 | 23.825 | 17.780 | 196 | 116.0 | 5.0 |
| DSO-3×3 | 3×3 | 23.825 | 215 | ||||
| DSO-3×4 | 3×4 | 31.267 | 240 | 6.5 | |||
| DSO-3×5 | 3×5 | 44.399 | 273 | 117.0 | |||
| DSO-3×6 | 3×6 | 63.348 | 335 | 8.0 | |||
| DSO-4×2 | 4×2 | 44 | 31.267 | 17.780 | 221 | 141.0 | 5.0 |
| DSO-4×3 | 4×3 | 23.825 | 240 | ||||
| DSO-4×4 | 4×4 | 31.267 | 265 | 6.5 | |||
| DSO-4×5 | 4×5 | 44.399 | 298 | 142.0 | |||
| DSO-4×6 | 4×6 | 63.348 | 360 | 8.0 | |||
| DSO-5×3 | 5×3 | 54 | 44.399 | 23.825 | 275 | 176.0 | 5.0 |
| DSO-5×4 | 5×4 | 31.267 | 300 | 6.5 | |||
| DSO-5×5 | 5×5 | 44.399 | 333 | 177.0 | |||
| DSO-5×6 | 5×6 | 63.348 | 395 | 8.0 | |||
| DSO-6×5 | 6×5 | 84 | 63.348 | 44.399 | 391 | 235.0 | 6.5 |
| DSO-6×6 | 6×6 | 63.348 | 453 | 8.0 | |||
| DSO-6×7 | 6×7 | 83.058 | 530 | 234.0 | 10.0 |
在庫状況につきましては、都度お問い合わせ下さい。
CNCドリルスリーブ
CNC旋盤などで使用される、モールステーパーシャンク用のストレートスリーブです。すべての製品は「総焼入れ・総研磨仕上げ」により、高精度・高耐久性を実現しています。
総焼入れモールステーパー用ストレートスリーブ(別名:ターレットスリーブ/ツバ付スリーブ/ミーリングドリルスリーブ)
- 主要メーカーのCNC旋盤に幅広く対応しており、新規導入時の互換性にも優れた便利な製品です。
- スリーブ本体にはツバ付き仕様を採用しており、把握・取り外し作業も容易です。
仕様寸法表(単位:mm)
型式 | テーパ | D | d | L | l |
1×25 | MT1 | 25 | 32 | 80 | 8 |
2×25 | MT2 | ||||
1×32 | MT1 | 32 | 38 | 90 | |
2×32 | MT2 | ||||
3×32 | MT3 | ||||
1×40 | MT1 | 40 | 46 | 100 | 15 |
2×40 | MT2 | ||||
3×40 | MT3 | ||||
4×40 | MT4 | 20 | |||
1×50 | MT1 | 50 | 58 | 120 | 15 |
2×50 | MT2 | ||||
3×50 | MT3 | ||||
4×50 | MT4 | ||||
5×50 | MT5 | 115 | 30 |
上記寸法以外も特注にて製作致します。
CNCドリルスリーブ
CNC旋盤などで使用される、モールステーパーシャンク用のストレートスリーブです。すべての製品は「総焼入れ・総研磨仕上げ」により、高精度・高耐久性を実現しています。
総焼入れモールステーパー用ストレートスリーブ(別名:ターレットスリーブ/ツバ付スリーブ/ミーリングドリルスリーブ)
- 主要メーカーのCNC旋盤に幅広く対応しており、新規導入時の互換性にも優れた便利な製品です。
- スリーブ本体にはツバ付き仕様を採用しており、把握・取り外し作業も容易です。
仕様寸法表(単位:mm)
型式 | テーパ | D | d | L | l |
1×25 | MT1 | 25 | 32 | 80 | 8 |
2×25 | MT2 | ||||
1×32 | MT1 | 32 | 38 | 90 | |
2×32 | MT2 | ||||
3×32 | MT3 | ||||
1×40 | MT1 | 40 | 46 | 100 | 15 |
2×40 | MT2 | ||||
3×40 | MT3 | ||||
4×40 | MT4 | 20 | |||
1×50 | MT1 | 50 | 58 | 120 | 15 |
2×50 | MT2 | ||||
3×50 | MT3 | ||||
4×50 | MT4 | ||||
5×50 | MT5 | 115 | 30 |
上記寸法以外も特注にて製作致します。


