回転センター
NC旋盤の湿式切削にも最適
・特殊スラストベアリングを組み込んだ三点軸受ベアリング方式によりスラスト荷重に対して抜群の威力を発揮します。
・ヘッドドライビング機構により粉塵や切削水が入りにくく、高精度を維持します。
■ドライビングヘッド機構
・センターと一体型のヘッド。
・三点軸受ベアリング方式。
・角度は60°のみ。
注意事項
MTシャンクは、ドリルなどと異なり、タングがありません。従いまして、スリーブやソケットでご使用になると、外せなくなる可能性があります。
精度の面からも、スリーブやソケットなどを使用しないで、芯押し軸テーパーに適合した商品をご使用下さい。
回転センター 標準タイプ
総焼入れ研磨 HRC60~63
永年の経験より生まれたヘッドドライビング機構は、切粉、切削水の浸入を防止します。
型式 | モールス テーパー | A | B | C | D | E | L | 超硬付 | 許容回転数(min -1) 参考値 |
MT1A (特注品。超硬付は無し) | M.T.1 | 21 | 37 | 57 | 34 | 15 | 115 | ||
MT2A (超硬付は特注品) | M.T.2 | 24 | 40 | 69 | 40 | 18 | 133 | Φ8 | 3000 |
MT3A (超硬付は特注品) | M.T.3 | 32 | 44 | 85 | 45 | 25 | 161 | Φ10 | 3000 |
MT4A (超硬付は特注品) | M.T.4 | 32 | 44 | 108 | 45 | 25 | 184 | Φ14 | 3000 |
MT5A (超硬付は特注品) | M.T.5 | 49 | 70 | 136 | 78 | 38 | 255 | Φ18 | 2000 |
MT6A (超硬付は特注品) | M.T.6 | 62 | 82 | 189 | 102 | 55 | 333 | Φ30 | 1000 |
先端部フラット有。
総合負荷荷重表 参考値
| 100r.p.m | 200r.p.m | 300r.p.m | 500r.p.m | 1000r.p.m | 1500r.p.m | 2000r.p.m | 2500r.p.m | 3000r.p.m | |
| MT1A | 435 | 350 | 305 | 255 | 210 | 175 | 155 | 140 | 115 |
| MT2A | 535 | 420 | 385 | 315 | 250 | 215 | 190 | 175 | 140 |
| MT3A | 650 | 520 | 430 | 375 | 295 | 260 | 215 | 215 | 195 |
| MT4A | 650 | 520 | 430 | 375 | 295 | 260 | 215 | 215 | 195 |
| MT5A | 1860 | 1470 | 1315 | 1090 | 875 | 755 | 770 | ||
| MT6A | 2770 | 2210 | 1825 | 1620 | 1315 |
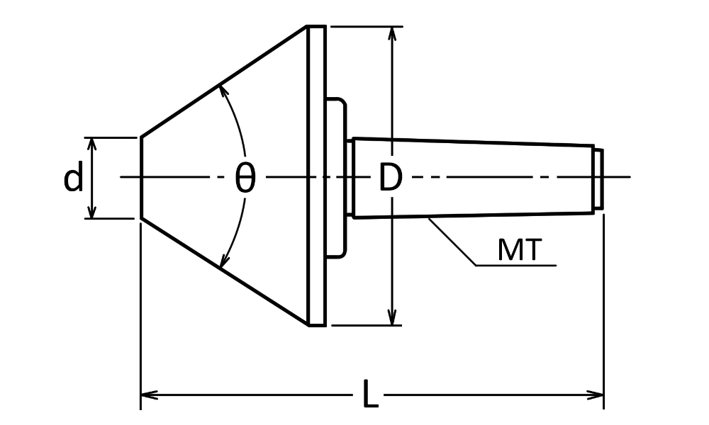
傘型大径用
太穴・パイプ用ライブセンターです。
基本構造は標準Sタイプと同じです。
| 型式 | モールス テーパー | θ | d | D | L | 重量(kg) |
| HD-2A | MT2 | 70° | 12 | 64 | 123.1 | 0.8 |
| HD-3A | MT3 | 19 | 75 | 136.9 | 1.1 | |
| HD-4A | MT4 | 75° | 30 | 130 | 191.2 | 4.0 |
| HD-4B | MT4 | 35 | 150 | 201.9 | 6.3 | |
| HD-5A | MT5 | 32 | 150 | 228.9 | 7.2 | |
| HD-6A | MT6 | 90 | 200 | 286.7 | 20.6 |
HD-NC Type (NC小径用)
ヘッドドライビング機構を採用した小径ワーク用の高速型ライブセンターです。 NC用旋盤など、刃物の干渉に考慮した設計です。
型式 | モールス テーパー | A | B | C | D | d | E | L | G(ゲージラインからの寸法) | 許容回転数(min -1) 参考値 | 質量kg |
HD-3NC | M.T.3 | 32 | 44 | 85 | 45 | 12 | 22 | 165 | 85(A+B+5) | 4,000 | 0.87 |
HD-4NC | M.T.4 | 32 | 44 | 108 | 45 | 12 | 22 | 188 | 85(A+B+5) | 4,000 | 1.18 |
HD-5NC | M.T.5 | 60 | 70 | 136 | 79 | 20 | 20 | 266 | 137 | 4.08 |
回転センター
ヘッドドライブ型HDライブセンター
NC旋盤の湿式切削にも最適
・特殊スラストベアリングを組み込んだ三点軸受ベアリング方式によりスラスト荷重に対して抜群の威力を発揮します。
・ヘッドドライビング機構により粉塵や切削水が入りにくく、高精度を維持します。
■ドライビングヘッド機構
・センターと一体型のヘッド。
・三点軸受ベアリング方式。
・角度は60°のみ。
注意事項
MTシャンクは、ドリルなどと異なり、タングがありません。従いまして、スリーブやソケットでご使用になると、外せなくなる可能性があります。
精度の面からも、スリーブやソケットなどを使用しないで、芯押し軸テーパーに適合した商品をご使用下さい。
回転センター 標準タイプ
総焼入れ研磨 HRC60~63
永年の経験より生まれたヘッドドライビング機構は、切粉、切削水の浸入を防止します。
型式 | モールス テーパー | A | B | C | D | E | L | 超硬付 | 許容回転数(min -1) 参考値 |
MT1A (特注品。超硬付は無し) | M.T.1 | 21 | 37 | 57 | 34 | 15 | 115 | ||
MT2A (超硬付は特注品) | M.T.2 | 24 | 40 | 69 | 40 | 18 | 133 | Φ8 | 3000 |
MT3A (超硬付は特注品) | M.T.3 | 32 | 44 | 85 | 45 | 25 | 161 | Φ10 | 3000 |
MT4A (超硬付は特注品) | M.T.4 | 32 | 44 | 108 | 45 | 25 | 184 | Φ14 | 3000 |
MT5A (超硬付は特注品) | M.T.5 | 49 | 70 | 136 | 78 | 38 | 255 | Φ18 | 2000 |
MT6A (超硬付は特注品) | M.T.6 | 62 | 82 | 189 | 102 | 55 | 333 | Φ30 | 1000 |
先端部フラット有。
総合負荷荷重表 参考値
| 100r.p.m | 200r.p.m | 300r.p.m | 500r.p.m | 1000r.p.m | 1500r.p.m | 2000r.p.m | 2500r.p.m | 3000r.p.m | |
| MT1A | 435 | 350 | 305 | 255 | 210 | 175 | 155 | 140 | 115 |
| MT2A | 535 | 420 | 385 | 315 | 250 | 215 | 190 | 175 | 140 |
| MT3A | 650 | 520 | 430 | 375 | 295 | 260 | 215 | 215 | 195 |
| MT4A | 650 | 520 | 430 | 375 | 295 | 260 | 215 | 215 | 195 |
| MT5A | 1860 | 1470 | 1315 | 1090 | 875 | 755 | 770 | ||
| MT6A | 2770 | 2210 | 1825 | 1620 | 1315 |
傘型大径用
太穴・パイプ用ライブセンターです。
基本構造は標準Sタイプと同じです。
| 型式 | モールス テーパー | θ | d | D | L | 重量(kg) |
| HD-2A | MT2 | 70° | 12 | 64 | 123.1 | 0.8 |
| HD-3A | MT3 | 19 | 75 | 136.9 | 1.1 | |
| HD-4A | MT4 | 75° | 30 | 130 | 191.2 | 4.0 |
| HD-4B | MT4 | 35 | 150 | 201.9 | 6.3 | |
| HD-5A | MT5 | 32 | 150 | 228.9 | 7.2 | |
| HD-6A | MT6 | 90 | 200 | 286.7 | 20.6 |
HD-NC Type (NC小径用)
ヘッドドライビング機構を採用した小径ワーク用の高速型ライブセンターです。 NC用旋盤など、刃物の干渉に考慮した設計です。
型式 | モールス テーパー | A | B | C | D | d | E | L | G(ゲージラインからの寸法) | 許容回転数(min -1) 参考値 | 質量kg |
HD-3NC | MT3 | 32 | 44 | 85 | 45 | 12 | 22 | 165 | 85(A+B+5) | 4,000 | 0.87 |
HD-4NC | MT4 | 32 | 44 | 108 | 45 | 12 | 22 | 188 | 85(A+B+5) | 4,000 | 1.18 |
HD-5NC | MT5 | 60 | 70 | 136 | 79 | 20 | 20 | 266 | 137 | 4.08 |
回転センターチャック
ドリルチャック付ライブセンター
先端の形状は自由自在。
・小径ワークやセンター穴の無いワークの両センター加工に最適です。
・細長いワークの振れ止めにもご使用頂けます。
・ヘッドドライビング機構により、粉塵や切削油が侵入しにくい構造です。
・ドリルチャック無しでの出荷も可能です。
・ドリルチャックは、標準付属品(13MG)以外のサイズもお選びいただけます。
仕様寸法表(単位:mm)
型式 | 標準ドリルチャック (ジャコブスNo.) | 取付モールステーパ | L1 | L2 | L3 | D1 | D2 |
HD-2S-13 | 13MG(JT6) | MT2 | 88 | 54 | 64 | 55 | 45 |
HD-3S-13 | 13MG(JT6) | MT3 | 88 | 55 | 79 | 55 | 45 |
※テーパー接続のため、L寸法は実際の組付け状態とは異なる場合があります。
ドリルチャックを標準付属品以外のサイズに変更する場合には下記のサイズ(すべてJT6規格)が取り付け可能です。
- 14mm JT6
- 16mm JT6
- 19mm JT6
- 22mm JT6
- 25mm JT6
・お客様のワークに合わせたセンター形状に変更や交換が出来ます。
・センターの製作も致します。
回転センターチャック
ドリルチャック付ライブセンター
先端の形状は自由自在。
・小径ワークやセンター穴の無いワークの両センター加工に最適です。
・細長いワークの振れ止めにもご使用頂けます。
・ヘッドドライビング機構により、粉塵や切削油が侵入しにくい構造です。
・ドリルチャック無しでの出荷も可能です。
・ドリルチャックは、標準付属品(13MG)以外のサイズもお選びいただけます。
仕様寸法表(単位:mm)
型式 | 標準ドリルチャック (ジャコブスNo.) | 取付モールステーパ | L1 | L2 | L3 | D1 | D2 |
HD-2S-13 | 13MG(JT6) | MT2 | 88 | 54 | 64 | 55 | 45 |
HD-3S-13 | 13MG(JT6) | MT3 | 88 | 55 | 79 | 55 | 45 |
※テーパー接続のため、L寸法は実際の組付け状態とは異なる場合があります。
ドリルチャックを標準付属品以外のサイズに変更する場合には下記のサイズ(すべてJT6規格)が取り付け可能です。
- 14mm JT6
- 16mm JT6
- 19mm JT6
- 22mm JT6
- 25mm JT6
・お客様のワークに合わせたセンター形状に変更や交換が出来ます。
・センターの製作も致します。
超硬付レースセンター
超硬レースセンター
| 型式 | モールステーパ | θ | D | D1 | L | d(超硬径) |
| WCL1-d(超硬径) | MT1 | 60° | 12.065 | 12.2 | 82 | 6,8,12 |
| WCL2-d(超硬径) | MT2 | 17.78 | 18.0 | 100 | 8,14,18 | |
| WCL3-d(超硬径) | MT3 | 23.825 | 24.1 | 125 | 10,14,18,24 | |
| WCL4-d(超硬径) | MT4 | 31.267 | 31.6 | 155 | 14,18,32 | |
| WCL5-d(超硬径) | MT5 | 44.399 | 44.7 | 200 | 18,30,45 | |
| WCL6-d(超硬径) | MT6 | 63.348 | 63.8 | 270 | 30 | |
| WCL7-d(超硬径) | MT7 | 75° | 83.058 | 83.6 | 340 | 50 |
超硬レースセンター ロング
| 型式 | モールステーパ | θ | D | D1 | L | l | d(超硬径) |
| WCLL2-d(超硬径) | MT2 | 60° | 17.78 | 18.0 | 140 | 76 | 8,18 |
| WCLL3-d(超硬径) | MT3 | 23.825 | 24.1 | 160 | 79 | 10,24 | |
| WCLL4-d(超硬径) | MT4 | 31.267 | 31.6 | 200 | 97.5 | 14,18,32 | |
| WCLL5-d(超硬径) | MT5 | 44.399 | 44.7 | 245 | 115.5 | 18,45 |
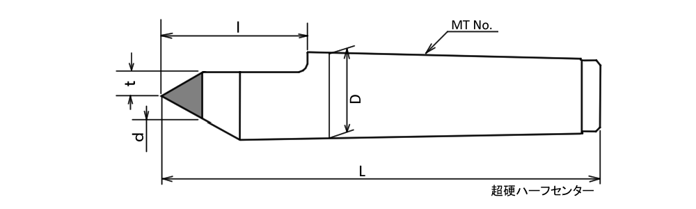
超硬ハーフセンター ロング
| 型式 | モールステーパ | t | d(超硬径) | D | l | L |
| WCLHL1-1.0 | MT1 | 1.0 | 6 | 12.065 | 40 | 100 |
| WCLHL2-4.0 | MT2 | 4.0 | 8 | 17.780 | 50 | 125 |
| WCLHL2-2.0 | 2.0 | |||||
| WCLHL3-5.0 | MT3 | 5.0 | 10 | 23.825 | 60 | 155 |
| WCLHL3-2.5 | 2.5 | |||||
| WCLHL4-7.0 | MT4 | 7.0 | 14 | 31.267 | 70 | 195 |
| WCLHL4-3.5 | 3.5 | |||||
| WCLHL4-2.0 | 2.0 | |||||
| WCLHL4-1.0 | 1.0 | |||||
| WCLHL5-9.0 | MT5 | 9.0 | 18 | 44.399 | 90 | 250 |
| WCLHL5-4.5 | 4.5 |
超硬ハーフセンター ショート
| 型式 | モールステーパ | t | d(超硬径) | D | l | L |
| WCLHS2-2.0 | MT2 | 2.0 | 8 | 17.780 | 31 | 100 |
| WCLHS3-2.5 | MT3 | 2.5 | 10 | 23.825 | 37 | 125 |
| WCLHS4-7.0 | MT4 | 7.0 | 14 | 31.267 | 46 | 155 |
| WCLHS4-3.5 | 3.5 |
注意事項
MTシャンクは、ドリルなどと異なり、タングがありません。従いまして、スリーブやソケットでご使用になると、外せなくなる可能性があります。
精度の面からも、スリーブやソケットなどを使用しないで、芯押し軸テーパーに適合した商品をご使用下さい。
超硬付レースセンター
先端が超硬のレースセンターです。
ハーフタイプ、先端全超硬タイプもございます。
超硬レースセンター
| 型式 | モールステーパ | θ | D | D1 | L | d(超硬径) |
| WCL1-d(超硬径) | MT1 | 60° | 12.065 | 12.2 | 82 | 6,8,12 |
| WCL2-d(超硬径) | MT2 | 17.78 | 18.0 | 100 | 8,14,18 | |
| WCL3-d(超硬径) | MT3 | 23.825 | 24.1 | 125 | 10,14,18,24 | |
| WCL4-d(超硬径) | MT4 | 31.267 | 31.6 | 155 | 14,18,32 | |
| WCL5-d(超硬径) | MT5 | 44.399 | 44.7 | 200 | 18,30,45 | |
| WCL6-d(超硬径) | MT6 | 63.348 | 63.8 | 270 | 30 | |
| WCL7-d(超硬径) | MT7 | 75° | 83.058 | 83.6 | 340 | 50 |
超硬レースセンター ロング
| 型式 | モールステーパ | θ | D | D1 | L | l | d(超硬径) |
| WCLL2-d(超硬径) | MT2 | 60° | 17.78 | 18.0 | 140 | 76 | 8,18 |
| WCLL3-d(超硬径) | MT3 | 23.825 | 24.1 | 160 | 79 | 10,24 | |
| WCLL4‐d(超硬径) | MT4 | 31.267 | 31.6 | 200 | 97.5 | 14,18,32 | |
| WCLL5‐d(超硬径) | MT5 | 44.399 | 44.7 | 245 | 115.5 | 18,45 |
超硬ハーフセンター ロング
| 型式 | モールステーパ | t | d(超硬径) | D | l | L |
| WCLHL1-1.0 | MT1 | 1.0 | 6 | 12.065 | 40 | 100 |
| WCLHL2-4.0 | MT2 | 4.0 | 8 | 17.780 | 50 | 125 |
| WCLHL2-2.0 | 2.0 | |||||
| WCLHL3-5.0 | MT3 | 5.0 | 10 | 23.825 | 60 | 155 |
| WCLHL3-2.5 | 2.5 | |||||
| WCLHL4-7.0 | MT4 | 7.0 | 14 | 31.267 | 70 | 195 |
| WCLHL4-3.5 | 3.5 | |||||
| WCLHL4-2.0 | 2.0 | |||||
| WCLHL4-1.0 | 1.0 | |||||
| WCLHL5-9.0 | MT5 | 9.0 | 18 | 44.399 | 90 | 250 |
| WCLHL5-4.5 | 4.5 |
超硬ハーフセンター ショート
| 型式 | モールステーパ | t | d(超硬径) | D | l | L |
| WCLHS2-2.0 | MT2 | 2.0 | 8 | 17.780 | 31 | 100 |
| WCLHS3-2.5 | MT3 | 2.5 | 10 | 23.825 | 37 | 125 |
| WCLHS4-7.0 | MT4 | 7.0 | 14 | 31.267 | 46 | 155 |
| WCLHS4-3.5 | 3.5 |
注意事項
MTシャンクは、ドリルなどと異なり、タングがありません。従いまして、スリーブやソケットでご使用になると、外せなくなる可能性があります。
精度の面からも、スリーブやソケットなどを使用しないで、芯押し軸テーパーに適合した商品をご使用下さい。
ダイヤモンドレースセンター
抜群の硬さと、高精度をお試し下さい。
先端が鋭く尖っておりますので小径ワークに適しております。
抜群の硬さから、超硬素材ワークに最適です
特長
●耐久性は超硬の30~50倍です。
●ダイヤモンドは硬度が高いので表面の滑りが良く、耐摩耗性に優れています。摩擦抵抗が低いのでワークの回転が滑らかです。
●キズ・段差がつきにくいので、高精度の加工が長時間持続できます。
●ハーフセンターやロングタイプなどの寸法変更も可能です。
●修理・再研磨もお受け致します。
注意事項
MTシャンクは、ドリルなどと異なり、タングがありません。従いまして、スリーブやソケットでご使用になると、外せなくなる可能性があります。
精度の面からも、スリーブやソケットなどを使用しないで、芯押し軸テーパーに適合した商品をご使用下さい。
以下のMTサイズのものを製作しております。
仕様寸法表(単位:mm)
型式 | モールステーパー | D | D1 | L | l1 | a | l2 | l3 |
PCD 1 | MT1 | 12.065 | 12.2 | 82 | 53.5 | 3.5 | 57 | 25 |
PCD 2 | MT2 | 17.780 | 18.0 | 100 | 64 | 5 | 69 | 31 |
PCD 3 | MT3 | 23.825 | 24.1 | 105 | 81 | 5 | 86 | 39 |
PCD 4 | MT4 | 31.267 | 31.6 | 155 | 102.5 | 6.5 | 109 | 46 |
先端角度60°+30′
標準品ダイヤ外径約φ6㎜
ダイヤモンドレースセンター
抜群の硬さと、高精度をお試し下さい。
先端が鋭く尖っておりますので小径ワークに適しております。
抜群の硬さから、超硬素材ワークに最適です
特長
●耐久性は超硬の30~50倍です。
●ダイヤモンドは硬度が高いので表面の滑りが良く、耐摩耗性に優れています。摩擦抵抗が低いのでワークの回転が滑らかです。
●キズ・段差がつきにくいので、高精度の加工が長時間持続できます。
●ハーフセンターやロングタイプなどの寸法変更も可能です。
●修理・再研磨もお受け致します。
注意事項
MTシャンクは、ドリルなどと異なり、タングがありません。従いまして、スリーブやソケットでご使用になると、外せなくなる可能性があります。
精度の面からも、スリーブやソケットなどを使用しないで、芯押し軸テーパーに適合した商品をご使用下さい。
以下のMTサイズのものを製作しております。
仕様寸法表(単位:mm)
型式 | モールステーパー | D | D1 | L | l1 | a | l2 | l3 |
PCD 1 | MT1 | 12.065 | 12.2 | 82 | 53.5 | 3.5 | 57 | 25 |
PCD 2 | MT2 | 17.780 | 18.0 | 100 | 64 | 5 | 69 | 31 |
PCD 3 | MT3 | 23.825 | 24.1 | 105 | 81 | 5 | 86 | 39 |
PCD 4 | MT4 | 31.267 | 31.6 | 155 | 102.5 | 6.5 | 109 | 46 |
先端角度60°+30′
標準品ダイヤ外径約φ6㎜
センターラッパー
焼入れ後のセンター穴修正に最適
電着ダイヤモンド工具で、製品精度をワンランクアップ
本製品は、焼入れ後に歪んだセンター穴の内径を修正するための電着ダイヤモンド工具です。
これにより、円筒研磨の精度が向上し、製品全体の品質と価値を引き上げることが可能です。
普段お使いの円筒研削盤でそのままご使用いただけるため、専用の工作機械は不要。
初期投資を抑えながら、効率的な精度向上が実現できます。
さらに、高精度に仕上げた円筒シャンクを採用し、コレットチャックでの確実なチャッキングが可能。
その結果、優れたコストパフォーマンスと使いやすさを兼ね備えています。
電着には、信頼の名古屋ダイヤモンド工業株式会社製の高品質ダイヤモンドを使用。
幅広いサイズ展開により、ワークサイズや用途に応じた最適な選定が可能です。
センターラッパーはダイヤモンドの粒度にこだわり、センター穴に最適な仕上がりを実現しました。
60°部分の長さが必要最低限の長さになっており、直径によって傘型になっておりますのでワークの出し入れがスムーズにできます。
使用方法
1.使用するコレットチャックを円筒研削盤の主軸と芯押し台にセットします。
2.コレットチャックにセンターラッパーをセットします。
3.円筒研削盤で両センター加工をする際と同様の段取りを行います。
センター間の距離をワークより5㎜ほど短くし、芯押し台を固定します。
4.ケレーを掛け、ワークを両センターの要領で保持し主軸を回転させます。
ワークのセンター穴が全周磨かれるまで回転させます。
(ワークの歪み具合にもよりますが、3回転~5回転ほどで完了します。)
製品仕様
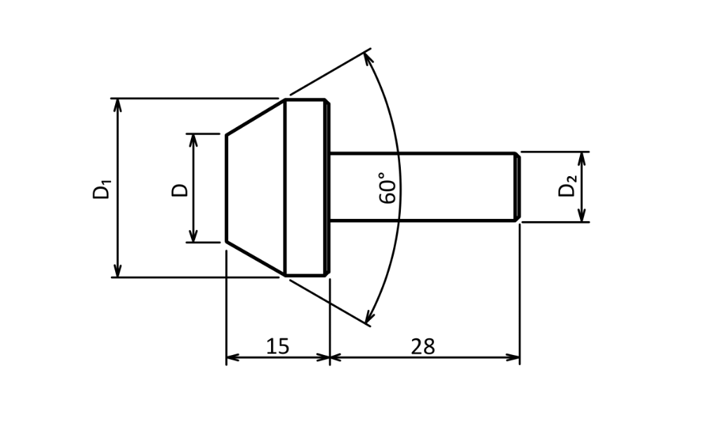
| 型式 | D | D1 | D2 |
| CL-001010 | 0 (ピン角) | 10 | 10 |
| CL-021310 | 2 | 13 | 10 |
| CL-081810 | 8 | 18 | 10 |
| CL-132310 | 13 | 23 | 10 |
| CL-162610 | 16 | 26 | 10 |
| CL-193110 | 19 | 31 | 10 |
| CL-193120 | 19 | 31 | 20 |
| CL-274110 | 27 | 41 | 10 |
| CL-274120 | 27 | 41 | 20 |
| CL-375210 | 37 | 52 | 10 |
| CL-375220 | 37 | 52 | 20 |
CL-001010はピン角タイプです。
全品、メンテナンス用のスポンジゴムが1個付属しています。
※製品の仕様は予告なく変更になる場合があります。
メンテナンスについて
電着ダイヤモンドが目詰まりし、研磨しにくくなりましたら、切削油で流しながら付属のスポンジゴムでこすってください。
こまめに目立てを行うと、切れも良く工具寿命も伸びます。
スポンジゴムでこする前
付属のスポンジゴムでこすります
スポンジゴムでこすった後
※スポンジゴムで取り切れない場合は、ホワイトストン(弊社で販売しています)をご使用ください。
左記画像の「スポンジゴム」は本体に付属しております。
スポンジゴム単品での販売も行っています。ホワイトストンも販売しておりますので、ご入り用の際はお申し付けください。
センターラッパー
焼入れ後のセンター穴修正に最適
電着ダイヤモンド工具で、製品精度をワンランクアップ
本製品は、焼入れ後に歪んだセンター穴の内径を修正するための電着ダイヤモンド工具です。
これにより、円筒研磨の精度が向上し、製品全体の品質と価値を引き上げることが可能です。
普段お使いの円筒研削盤でそのままご使用いただけるため、専用の工作機械は不要。
初期投資を抑えながら、効率的な精度向上が実現できます。
さらに、高精度に仕上げた円筒シャンクを採用し、コレットチャックでの確実なチャッキングが可能。
その結果、優れたコストパフォーマンスと使いやすさを兼ね備えています。
電着には、信頼の名古屋ダイヤモンド工業株式会社製の高品質ダイヤモンドを使用。
幅広いサイズ展開により、ワークサイズや用途に応じた最適な選定が可能です。
センターラッパーはダイヤモンドの粒度にこだわり、センター穴に最適な仕上がりを実現しました。
60°部分の長さが必要最低限の長さになっており、直径によって傘型になっておりますのでワークの出し入れがスムーズにできます。
使用方法
1.使用するコレットチャックを円筒研削盤の主軸と芯押し台にセットします。
2.コレットチャックにセンターラッパーをセットします。
3.円筒研削盤で両センター加工をする際と同様の段取りを行います。
センター間の距離をワークより5㎜ほど短くし、芯押し台を固定します。
4.ケレーを掛け、ワークを両センターの要領で保持し主軸を回転させます。
ワークのセンター穴が全周磨かれるまで回転させます。
(ワークの歪み具合にもよりますが、3回転~5回転ほどで完了します。)
製品仕様
| 型式 | D | D1 | D2 |
| CL-001010 | 0 (ピン角) | 10 | 10 |
| CL-021310 | 2 | 13 | 10 |
| CL-081810 | 8 | 18 | 10 |
| CL-132310 | 13 | 23 | 10 |
| CL-162610 | 16 | 26 | 10 |
| CL-193110 | 19 | 31 | 10 |
| CL-193120 | 19 | 31 | 20 |
| CL-274110 | 27 | 41 | 10 |
| CL-274120 | 27 | 41 | 20 |
| CL-375210 | 37 | 52 | 10 |
| CL-375220 | 37 | 52 | 20 |
CL-001010はピン角タイプです。
全品、メンテナンス用のスポンジゴムが1個付属しています。
※製品の仕様は予告なく変更になる場合があります。
メンテナンスについて
電着ダイヤモンドが目詰まりし、研磨しにくくなりましたら、切削油で流しながら付属のスポンジゴムでこすってください。
こまめに目立てを行うと、切れも良く工具寿命も伸びます。
スポンジゴムでこする前
付属のスポンジゴムでこすります
スポンジゴムでこすった後
※スポンジゴムで取り切れない場合は、ホワイトストン(弊社で販売しています)をご使用ください。
上記画像の「スポンジゴム」は本体に付属しております。
スポンジゴム単品での販売も行っています。ホワイトストンも販売しておりますので、ご入り用の際はお申し付けください。

